Gallery
>
Land Yachting
<< Previous
|
Next >>
Category:
State:
Location:
Caption:
Description:
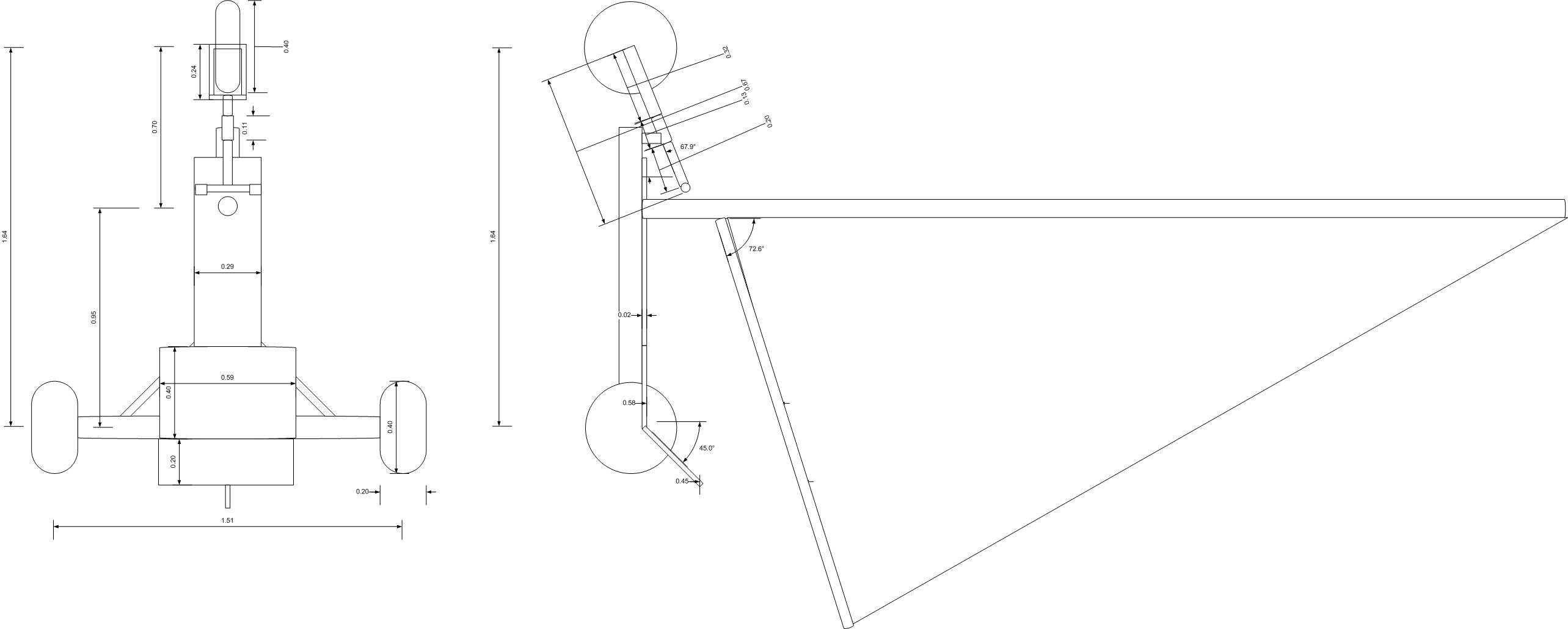
Land Yachting my design
searunner
searunner
aus230
minnesnowda
lachlan3556
minnesnowda
BenBoulder
gibberjoe
gibberjoe
gibberjoe
gibberjoe
gibberjoe
Search:
the gallery
land yachting
Cameronc
May 2009
Sydney Weather
Melbourne Weather
Brisbane Weather
Perth Weather
Adelaide Weather
Darwin Weather
Hobart Weather
Kitesurfing
Windsurfing
Stand Up Paddle
Surfing
Boating
Sailing
Fishing
Contact Us (Support/Help)
Terms Of Use
Privacy Policy
iPhone App
Android App
About
Copyright © 1997-2026 Seabreeze.com.au - All Rights Reserved.